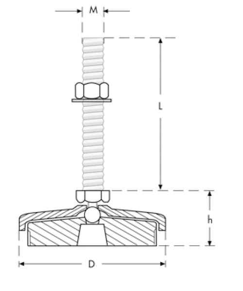
Ausführung-BLL
KAUTSCHUK
Material : NBR
Härte : 80 Shore A
Härte-Toleranz : ± 5 Shore A
METALL
Material : DIN EN 10111-98
Coating : Chrome Plated






